(500字以上,图文并茂) 一、实施过程 (一)问题讨论,引入实验 1.结合线上预习要求,通过设疑、引导回忆提出下列问题,展开讨论,从而带领学生自然走进实验教学。
(1)每天一睁眼,五彩斑斓的世界就呈现在眼前,那你知道物体是怎样通过我们的眼睛成像在视网膜上的吗?我们经常用照相机拍照,那你知道照相机的工作原理吗?我们也时常用幻灯机,幻灯机又是怎样工作的呐?
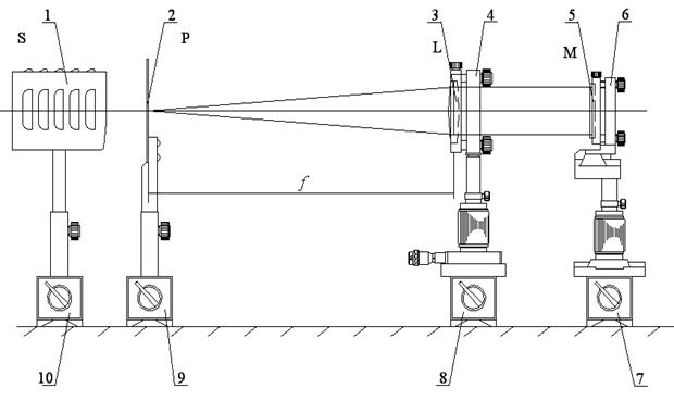
 (2)在实际的生产、生活中,凸透镜的焦距是个经常用到的物理量,那么我们又怎样来测量凸透镜的焦距? (思政要素:鼓励学生善于发现问题,有理论联系实际的意识) 2.利用本实验课题的题目,引导学生发现凸透镜成像可测得的物理量是物距和像距,从而引出实验原理的讲解。 (1)本实验的题目是“凸透镜焦距的测定”,大家考虑凸透镜成像,什么物理量是可测量的呢?(让学生讨论、发现是物距和像距) (2)物距和像距与凸透镜焦距有什么关系呢?函数表达式又是怎样的呢? (思政要素:培养学生善于发现问题,创新精神,从而提高学生的科学素养) 3. 将数学理论知识与物理实际问题相结合给出凸透镜焦距与物距和像距之间的函数关系。 (思政要素:激励学生有理论联系实际的意识) 实验原理: (1)用自准法测薄凸透镜焦距

;

 (2)用贝塞耳法(两次成像法)测薄凸透镜焦距


;

;
 待测透镜焦距:
 (二)学生实验操作过程: (思政要素:在实验操作、数据采集过程中,严谨认真、实事求是的科学态度,以及协同合作、团队协作的精神)

 实验数据记录表格 (三)实验总结过程: (思政要素:通过对所测实验数据的计算处理,渗透规律是可以被认识和利用的辩证唯物主义观点) 二、取得成效 首先在知识层面,通过本实验的教学,使学生加深了对凸透镜成像公式、符号定则理论知识的理解。巩固了对凸透镜成像规律的认识,强化了凸透镜焦距的测量方法。 其次在能力层面,通过本实验的教学,培养了学生的阅读能力、表达能力、操作能力以及撰写实验报告的能力等。 最后在思政层面,渗透规律是普遍的、客观的,不以人的意志为转移的辩证唯物主义观点;鼓励学生善于发现规律,利用规律,鼓励学生要在尊重客观规律的基础上充分发挥主观能动性,发挥创新精神,从而提高学生的科学素养; 培养学生严谨认真、实事求是的科学态度、团队协作精神。 三、教学反思 1.若引导学生探索不同的实验方法进行实验并进行比较,更有利于学生实验眼界、实验思路的拓宽,有利于学生创新能力的提高。 2.激发学生的学习积极性,变被动学习为主动学习是实验课的重要任务之一。 3.很多同学数据测量没有出现问题,数据处理时,计算常常出错,这也给我们提了个醒,训练学生的计算能力,也是实验课要完成的一项重要任务。 |